Bạn đang đau đầu vì không biết thiết kế hố pit dock leveler như thế nào cho đúng chuẩn? Đừng lo, bài viết này của Naltako sẽ cung cấp cho bạn tất cả thông tin cần thiết về hố pit cho dock leveler, từ kích thước, quy trình thi công cho đến những lưu ý quan trọng để đảm bảo an toàn và hiệu quả hoạt động.
Hố pit là gì?
Hố pit (tiếng Anh: pit) là một khoảng không gian được đào hoặc xây dựng dưới mặt đất hoặc sàn nhà, phục vụ các mục đích khác nhau tùy thuộc vào ứng dụng cụ thể như: Hố pit dock leveler, thang máy, xây dựng, bảo dưỡng xe…
Hố pit dock leveler là gì?
Hố pit dock leveler là một khoảng không gian được đào dưới mặt sàn kho xưởng, có chức năng tạo không gian cho sàn nâng hạ xuống khi không sử dụng giúp tiết kiệm diện tích, đồng thời chứa các bộ phận thủy lực và cơ khí của hệ thống.

Kích thước hố phụ thuộc vào loại sàn nâng và tải trọng thiết kế. Hố pit cần được thiết kế và thi công đúng kỹ thuật để đảm bảo an toàn và hiệu quả hoạt động của dock leveler.
Cấu tạo pit dock leveler
Thành hố: Được xây dựng bằng bê tông cốt thép hoặc các vật liệu chịu lực khác, đảm bảo độ vững chắc và ổn định cho toàn bộ hố pit.
Đáy hố: Thường được đổ bê tông và gia cố thêm lớp chống thấm để ngăn nước ngầm xâm nhập.
Kết cấu chịu lực: Hệ thống dầm và cột bê tông cốt thép được thiết kế để chịu tải trọng của sàn nâng và hàng hóa khi sàn nâng ở vị trí thấp nhất.
Phân loại
Hố bê tông
- Được xây dựng trực tiếp vào nền bê tông của nhà xưởng, phổ biến và dễ dàng thi công trong quá trình xây dựng hoặc cải tạo.
- Tuổi thọ phụ thuộc vào chất lượng bê tông.
- Thành hố: Xây bằng bê tông cốt thép, độ dày và mác bê tông được tính toán dựa trên tải trọng của dock leveler.
- Miệng hố: Được gia cố bằng thép hình chữ V và thép neo để tăng khả năng chịu lực. Ví dụ, dock leveler tải trọng 6 tấn thường sử dụng thép V75x75x6mm và thép neo tròn gân phi 16mm.
- Ống luồn dây điện: Ống nhựa (phi 27mm – 30mm) đặt âm nền để luồn dây điện cấp nguồn cho động cơ.
- Cao su giảm chấn: Gắn vào thành hố bằng bulong nở sắt khi lắp đặt dock leveler.
Hố thép
- Giải pháp thay thế khi không thể xây dựng hố pit âm bê tông do giới hạn không gian hoặc các yếu tố khác.

- Được làm bằng khung thép và đặt nổi trên nền kho.
- Phù hợp với những nơi cần lắp đặt dock leveler nhưng không thể xây dựng hố bê tông.
Cách xác định kích thước độ sâu hố pit
Để xác định độ sâu hố âm sàn nâng phù hợp, bạn cần tham khảo thông số kỹ thuật của nhà sản xuất sàn nâng. Thông thường, nhà sản xuất sẽ cung cấp bảng thông số chi tiết về kích thước, tải trọng và độ sâu hố pit khuyến nghị cho từng loại sàn nâng.
Kích thước và độ sâu tham khảo:
Tuy không có kích thước tiêu chuẩn, nhưng bạn có thể tham khảo một số kích thước phổ biến của hố pit sàn nâng thủy lực như sau:
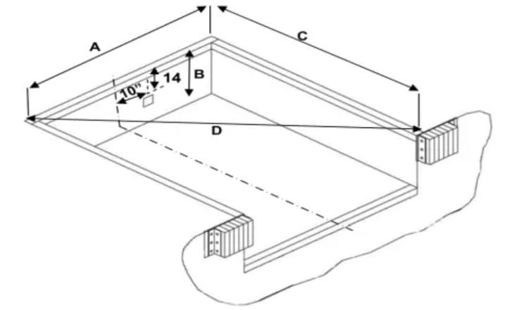
- Chiều rộng: Thường bằng hoặc lớn hơn chiều rộng của bàn nâng, cộng thêm khoảng cách an toàn hai bên (khoảng 100-200mm mỗi bên).
- Chiều dài: Thường bằng hoặc lớn hơn chiều dài của bàn nâng, cộng thêm khoảng cách an toàn phía trước và sau (khoảng 100-200mm mỗi bên).
- Chiều sâu: Phụ thuộc vào hành trình nâng hạ của sàn nâng và độ dày của sàn nâng khi hạ xuống. Thông thường, chiều sâu hố pit sẽ lớn hơn hành trình nâng hạ khoảng 100-200mm.

Ví dụ:
Đối với một dock leveler có kích thước bàn nâng 2000mm x 2500mm và hành trình nâng hạ 300mm, kích thước hố pit tham khảo có thể là:
- Chiều rộng: 2200mm – 2400mm
- Chiều dài: 2700mm – 2900mm
- Chiều sâu: 400mm – 500mm
Ưu điểm và nhược điểm của dock leveler có hố âm nền
Ưu điểm
Khả năng chịu tải trọng rất lớn, phù hợp với việc nâng hạ hàng hóa nặng, xe tải, container…
Sàn nâng có hành trình nâng hạ lớn, đáp ứng nhu cầu làm việc ở nhiều độ cao khác nhau.
Sàn nâng có độ ổn định cao, đảm bảo an toàn khi vận hành và chịu tải.

Với việc bảo trì bảo dưỡng đúng cách, dock leveler có hố pit có tuổi thọ sử dụng lâu dài, giảm thiểu chi phí thay thế và sửa chữa.
Hố pit có thể được thiết kế với kích thước và độ sâu phù hợp với nhu cầu sử dụng và không gian của từng công trình.
Nhược điểm
Chi phí xây dựng hố và lắp đặt hệ thống thủy lực khá lớn, đòi hỏi nguồn vốn đầu tư ban đầu Việc đào hố, xây dựng kết cấu và lắp đặt hệ thống thủy lực mất nhiều thời gian, ảnh hưởng đến tiến độ công trình.
Khi cần thay đổi vị trí lắp đặt sàn nâng, việc di dời hố rất phức tạp và tốn kém.
Việc thiết kế và thi công pit đòi hỏi kiến thức chuyên môn và kinh nghiệm, cần được thực hiện bởi các đơn vị uy tín.
Nếu hố âm không được thiết kế và thi công đúng kỹ thuật, có thể gây ra các sự cố như sụt lún, thấm nước, gây nguy hiểm cho người và tài sản.
Tham khảo
- Dock Shelter và Dock Leveler: Sự kết hợp hoàn hảo cho kho hàng
- Automatic Dock Leveler là gì? Ưu điểm & phân loại
- Dock Leveler Seals là gì? Các loại bạt che cửa kho phổ biến
- Mechanical Dock Leveler là gì? Khác gì so với Hydraulic Dock Leveler?
- Thông Số Sàn Nâng Thủy Lực
Tiêu chuẩn thi công hố âm sàn nâng
Để đảm bảo an toàn và hiệu quả hoạt động của dock leveler, việc thiết kế và thi công pit cần tuân thủ các yêu cầu sau:
Kích thước
- Chiều rộng: Bằng hoặc lớn hơn chiều rộng bàn nâng, cộng thêm khoảng cách an toàn hai bên (thường từ 100mm đến 200mm mỗi bên).
- Chiều dài: Bằng hoặc lớn hơn chiều dài bàn nâng, cộng thêm khoảng cách an toàn phía trước và sau (thường từ 100mm đến 200mm mỗi bên).
- Chiều sâu: Phụ thuộc vào hành trình nâng hạ của sàn nâng và độ dày của sàn nâng khi hạ xuống. Thông thường, chiều sâu hố pit sẽ lớn hơn hành trình nâng hạ khoảng 100mm đến 200mm.
- Tham khảo thông số kỹ thuật: Luôn tham khảo thông số kỹ thuật từ nhà sản xuất sàn nâng hoặc nhờ tư vấn từ chuyên gia để xác định kích thước hố pit chính xác.
Kết cấu hố pit
- Thành hố: Xây dựng bằng bê tông cốt thép hoặc các vật liệu chịu lực khác, đảm bảo độ vững chắc và ổn định.
- Đáy hố: Đổ bê tông và gia cố thêm lớp chống thấm để ngăn nước ngầm xâm nhập.
- Kết cấu chịu lực: Thiết kế hệ thống dầm và cột bê tông cốt thép để chịu tải trọng của sàn nâng và hàng hóa khi sàn nâng ở vị trí thấp nhất.
Thiết kế và thi công
Việc thiết kế và thi công hố dock leveler cần được thực hiện bởi các đơn vị có chuyên môn và kinh nghiệm để đảm bảo an toàn và hiệu quả sử dụng.

An toàn
Lắp đặt cửa an toàn hoặc rào chắn, hệ thống cảnh báo xung quanh hố để ngăn người và vật rơi xuống.
Bảo dưỡng
Thực hiện kiểm tra và bảo trì định kỳ để phát hiện và khắc phục kịp thời các sự cố hư hỏng, đảm bảo an toàn và hiệu quả hoạt động của dock leveler.
Kết luận
Hố pit đóng vai trò quan trọng trong việc đảm bảo an toàn và hiệu quả hoạt động của dock leveler. Việc thiết kế và thi công hố âm cần tuân thủ các tiêu chuẩn kỹ thuật và yêu cầu an toàn để đảm bảo độ bền và ổn định của hệ thống.
Nếu bạn đang có nhu cầu tìm hiểu thêm về hố pit dock leveler hoặc cần tư vấn về thiết kế, thi công, hãy liên hệ với chúng tôi để được hỗ trợ tốt nhất. Đội ngũ chuyên gia của chúng tôi sẽ giúp bạn tìm ra giải pháp tối ưu nhất cho công trình của bạn.
Liên hệ ngay với Naltako.vn để được tư vấn và báo giá chi tiết:
- Website: https://naltako.vn/
- Hotline: 0981.977.898
- Email: nhat.mtk53@gmail.com
- Địa chỉ xưởng: Km19, Quốc Lộ 6, TDP Phúc Tiến, Biên Giang, Hà Đông, Hà Nội.

English
Đệm giảm chấn và ứng dụng trong công nghiệp
Gờ giảm tốc bằng cao su và những thông tin liên quan
Tấm cao su chống rung và những ưu điểm trong công nghiệp
Càng phụ xe nâng là gì? Nên mua ở đâu?
Con lăn di chuyển đồ là gì? Ưu điểm khi sử dụng
Cầu nâng 1 trụ chữ H – trụ sửa xe ô tô hiệu quả
Băng tải xích tấm là gì? Một số ứng dụng của băng tải xích tấm
Tất tần tật về băng tải xoắn ốc bạn nên biết